Sony adiciona mais uma patente na marca Playstation, agora sabemos onde o desenvolvedor de tecnologia e jogos está colocando seu foco e como pretende se envolver com os consumidores. No último caso, parece que a Sony está se afastando dos sistemas e periféricos para consoles PlayStation e está olhando como os telespectadores se envolvem com conteúdo menos interativo.
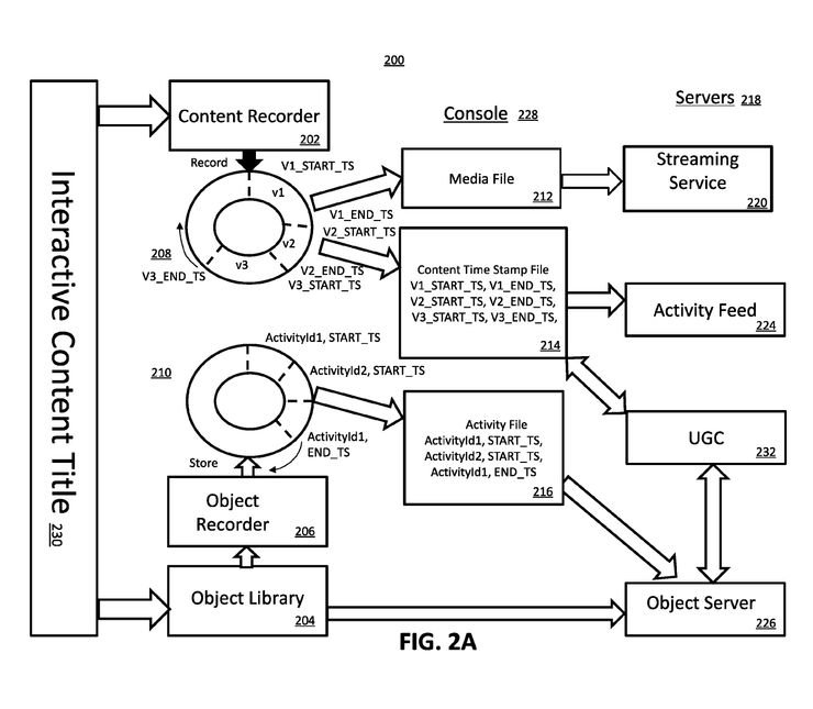
Especificamente, esta última patente visa aprimorar a experiência de streaming daqueles que usam a função Share do PlayStation para ir ao vivo em diferentes plataformas, incluindo diretamente através dos próprios serviços de visualização da Sony. Este não parece ser o tipo de sistema que pode fazer com que os jogadores investam enquanto assistem no Twitch ou no YouTube, mas pode ter um efeito nas sugestões e guias de transmissão disponíveis através de um hub de jogo no PS4 e PS5.
Para quebrar o texto da patente em algo que seja mais facilmente digerível, o sistema que está sendo descrito parece estar procurando usar informações de um fluxo para determinar o nível de habilidade do streamer. Isso funcionará em conjunto com a maneira que os consoles PlayStation tentam rastrear o progresso do jogador e determinar se o streamer está se aproximando de um momento que pode ser particularmente interessante. Essencialmente, o sistema acompanhará o desempenho de um navio a vapor e os momentos mais desafiadores do jogo para impulsionar uma determinada transmissão com base no fato de o jogador estar se aproximando de um momento divertido.

Curiosamente, esta patente parece ir além de apenas ajudar os streamers a obterem reconhecimento por feitos impressionantes, mas também sugere aos jogadores que comecem a transmitir ou gravar se estiverem preparados para realizar algo notável. De acordo com as reivindicações da patente, o sistema rastreará para ver se um player que não está transmitindo é roteado para fazer um recorde ou terminar um impressionante speedrun. A partir daí, o jogador será sugerido de alguma forma para começar a compartilhar suas realizações, provavelmente trabalhando em conjunto com as funções de compartilhamento do PlayStation para exibir os talentos para amigos e outros jogadores.

Tudo isso parece ser uma forma ambiciosa para a Sony prever e capturar momentos de hype entre os streamers ativos e jogadores habilidosos nos sistemas PlayStation. Freqüentemente, ninguém sabe quais serão os feitos impressionantes do jogador, como one-shots em Destiny ou Dark Souls sem morte até que já tenham acontecido e comecem a se espalhar online. Ser capaz de adivinhar o próximo grande momento viral do jogo antes que aconteça pode colocar a Sony à frente do jogo por feitos impressionantes realizados nos consoles do desenvolvedor.
Descubra mais sobre Hypando
Assine para receber nossas notícias mais recentes por e-mail.
